AT8320
Part Number Description Bckup power Power supply voltage (V) Timing current (typical) Clock format Crystal CL (pF) Integrated crystal Temperature compensation Trickle charge Alarm / Interrupt Square wave output (Hz) Clock calibration function Power down Oscillation stop detection User RAM (bytes) Working temperature range (℃) Cross Reference Pin/Package
AT8320 1.3~5.5 0.80μA (3V) HH:MM:SS 12.5 Programmable (open drain) -40 to +85 bq32002 SOP8/MSOP8/DFN8L

Description

    The AT8320 device is a compatible replacement for industry standard real-time clocks.

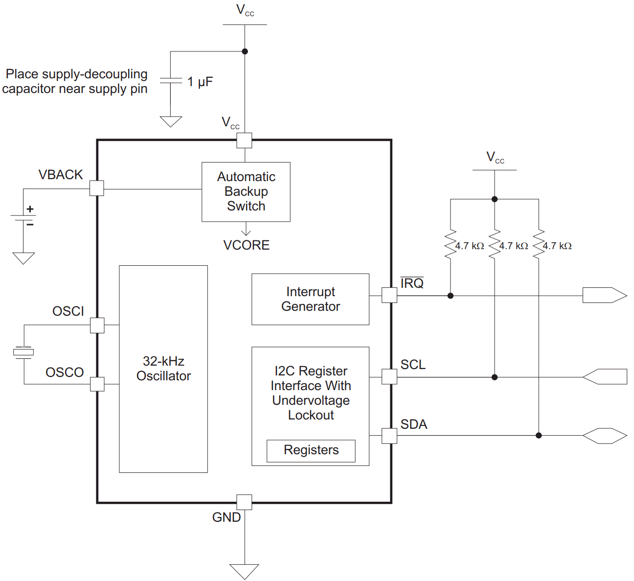
    The AT8320 features an automatic backup supply that can be implemented using a capacitor or non-rechargeable battery. The AT8320 has a programmable calibration adjustment from –63 ppm to +126 ppm. The AT8320 registers include an OF (oscillator fail) flag indicating the status of the RTC oscillator, as well as a STOP bit that allows the host processor to disable the oscillator. The time registers are normally updated once per second, and all the registers are updated at the same time to prevent a timekeeping glitch. The AT8320 includes automatic leap-year compensation.

Features

    Automatic Switchover to Backup Supply

    I2C Interface Supports Serial Clock up to 400 kHz

    Uses 32.768-kHz Crystal With –63-ppm to +126-ppm Adjustment

    Integrated Oscillator-Fail Detection

    8-Pin SOIC Package

    –40°C to +85°C Ambient Operating Temperature

Applications

    General Consumer Electronics

Application Circuit

QQ图片20200916110250.png







技术支持:万广互联 芯景AnalogTek-CLOCK|RTC|RS232|RS485|LVDS|I2C|多协议收发芯片|马达驱动芯片-武汉芯景科技有限公司WuHan AnalogTek Technology Co., Ltd. 鄂ICP备20005446号-1