AT9546A
Part Number Description Vcc Range(V) Chnnel width Interrupt Reset Simulta neously active channels 5V-to lerant I/O Push-pull Open-drain Cross Reference Max frequency (kHz) Pin/Package
AT9546A 2.3~5.5 4 channel 1~4 PCA9546A 400 TSSOP 16

General description

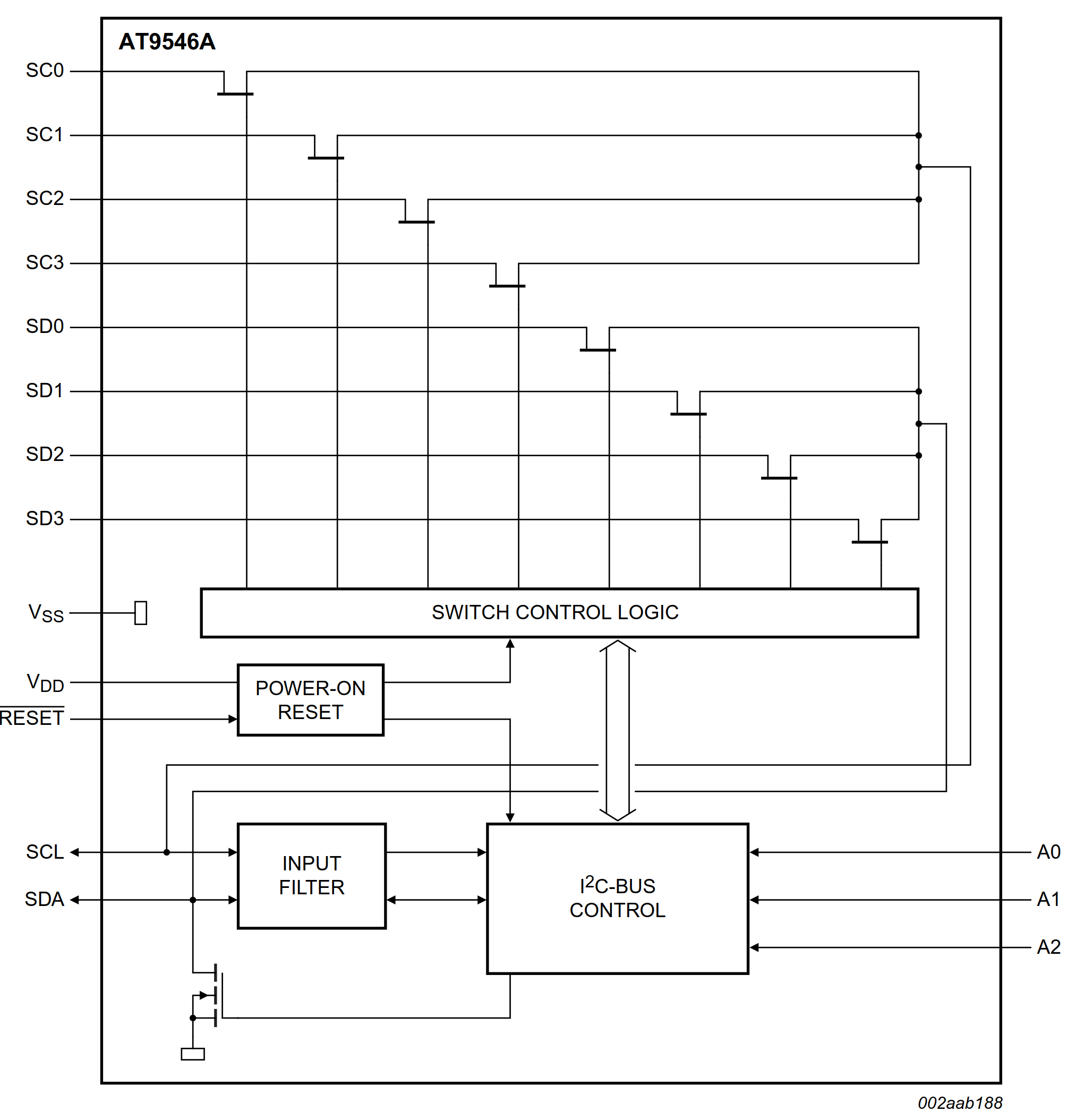
   The AT9546A is a quad bidirectional translating switch controlled via the I²C-bus. The SCL/SDA upstream pair fans out to four downstream pairs, or channels. Any individual SCx/SDx channel or combination of channels can be selected, determined by the contents of the programmable control register.

    An active LOW reset input allows the AT9546A to recover from a relation where one of the downstream I²C-buses is stuck in a LOW state. Pulling the RESET pin LOW resets the I²C-bus state machine and causes all the channels to be deselected as does the internal Power-On Reset (POR) function.

    The pass gates of the switches are constructed such that the VDD pin can be used to limit the maximum high voltage which is passed by the AT9546A. This allows the use of different bus voltages on each pair, so that 1.8V or 2.5V or 3.3V parts can communicate with 5V parts without any additional protection. External pull-up resistors pull the bus up to the desired voltage level for each channel. All I/O pins are 5V tolerant.

Features and benefits

    1-of-4 bidirectional translating switches

    I²C-bus interface logic; compatible with SMBus standards 

    Active LOW reset input

    3 address pins allowing up to 8 devices on the I²C-bus

    Channel selection via I²C-bus, in any combination

    Power-up with all switch channels deselected 

    Low  Ron switches 

    Allows voltage level translation between 1.8V, 2.5V, 3.3V and 5V buses 

    No glitch on power-up 

    Supports hot insertion 

    Low standby current 

    Operating power supply voltage range of 2.3V to 5.5V 

    5V tolerant Inputs 

    0Hz to 400 kHz clock frequency 

    ESD protection exceeds 2000 V HBM per JESD22-A114 and 1000 V CDM per JESD22-C101 

    Latch-up testing is done to JEDEC Standard JESD78 which exceeds 100 mA 

    Three packages offered: SO16, TSSOP16, and HVQFN16

Block diagram

微信图片_20200617162952.png







技术支持:万广互联 芯景AnalogTek-CLOCK|RTC|RS232|RS485|LVDS|I2C|多协议收发芯片|马达驱动芯片-武汉芯景科技有限公司WuHan AnalogTek Technology Co., Ltd. 鄂ICP备20005446号-1