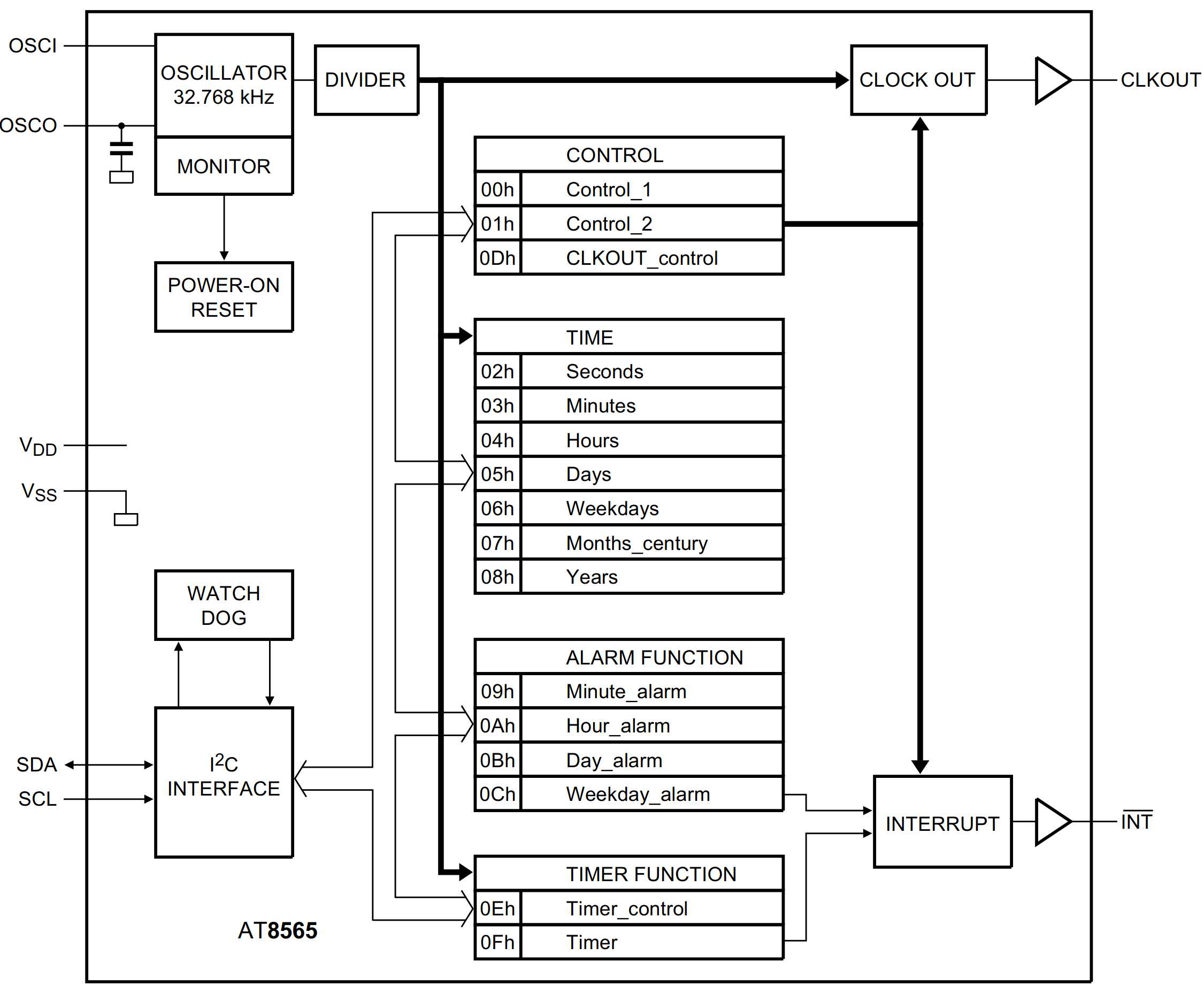
概述
AT8565是一款CMOS实时时钟芯片,通过双线与CPU相连,可以连续向CPU发送时钟和日历信息。AT8565能够提供各种周期性的中断时钟脉冲,并支持长时间的中断输出(可达一个月),而且通过2套内部报警系统提供包括星期,小时,分钟的中断输出。它的振荡电路是恒压驱动的,因而有很小的电压波动和很小的电流损耗(3V时的典型值为0.5μA)。AT8565提供一个晶振停振监测功能,可以在通电或其他场合下确认日历和外部微机的32kHz时钟输出量。(Nch.集电极开路输出)。它也含有一个时间校正电路根据CPU提供的信号来校正晶振中的频率误差,可以从32.768kH或者是32.000kHz的晶振类型中选择。
AT8565采用了8引脚的紧凑和超薄的SSOP、MSOP8以及SOP8封装,如果您要求用于小尺寸和低功耗的场合,AT8565将是您的最佳选择。
主要特性
工作电压范围:1.45V~6.0V;
最小工作电流:0.5μA(典型值)(3V电压,25℃时,最大值为0.9μA; 3V电压,-40~85℃时,最大值为1.0μA);
双线与CPU相连(I2C总线接口最高工作频率400kHz,7位地址);
内置时间寄存器(时,分,秒)和日历寄存器(年,月,日,星期)采用BCD编码;
多种周期性的中断输出(中断周期可以从一个月到一秒变化);
两套独立的报警系统(星期,小时,分);
晶振中断监测内部数据的合法性;
可输出32.768kHz(32.000kHz)的时钟(由寄存器控制);
秒校正±30秒;
自动闰年识别(可以支持到2099年);
自由选择12小时/24小时显示模式;
内部振动稳定电容;
高精度的时间校正电路;
32.768 kHz或32.000kHz的晶振均可以使用;
CMOS逻辑工艺;
8引脚的SSOP、MSOP8封装及SOP8封装
管脚兼容PCA8565;
应用
本产品功能多样,采用表贴封装形式,最适用于各种手机,携带终端及其他小型电子机器等。
通讯产品(外功能电话,手机,PHS)
办公用品(传真机,便携式传真机)
电脑(台式机,移动PC,PDA产品,电子笔记,视频游戏)
视频产品(手提视频产品,摄像机,照相机,数码相机,遥控器)
家庭应用(电饭锅,电烤箱)
其他(汽车导航系统,多功能手表)
引脚配置

引脚功能
符号
| 引脚号 | 描述 |
OSCO | 1 | 32768晶振输入管脚 |
OSCO | 2 | 32768晶振输出管脚,连接标准的32.768kHz石英晶振。该内部振荡器电路是针对等效负载电容为6pF电容(CL)32768晶振设计的。AT8565也可通过外部的32.768kHz的振荡器驱动。在该设置下,OSCI引脚接外部振荡信号,OSCO引脚悬空。 |
INT | 3 | 中断输出(开漏) |
VSS | 4 | 地 |
SDA | 5 | 串行数据I/O(开漏) |
SCL | 6 | 串行时钟输入 |
CLKOUT | 7 | 32768时钟输出 |
VDD | 8 | 正电源 |
注:请务必连接VDD–VSS 间0.1μF以上的旁路电容。
典型应用电路
