AT9635
Part Number Description Cross Reference The LED channel number A hardware reset I/O output current (mA) Total current I2C rate (KHz) Status Type Pin/Package
AT9635 PCA9635 16 No 25 400 1000 2020Q1 Dimmers TSSOP28

描述

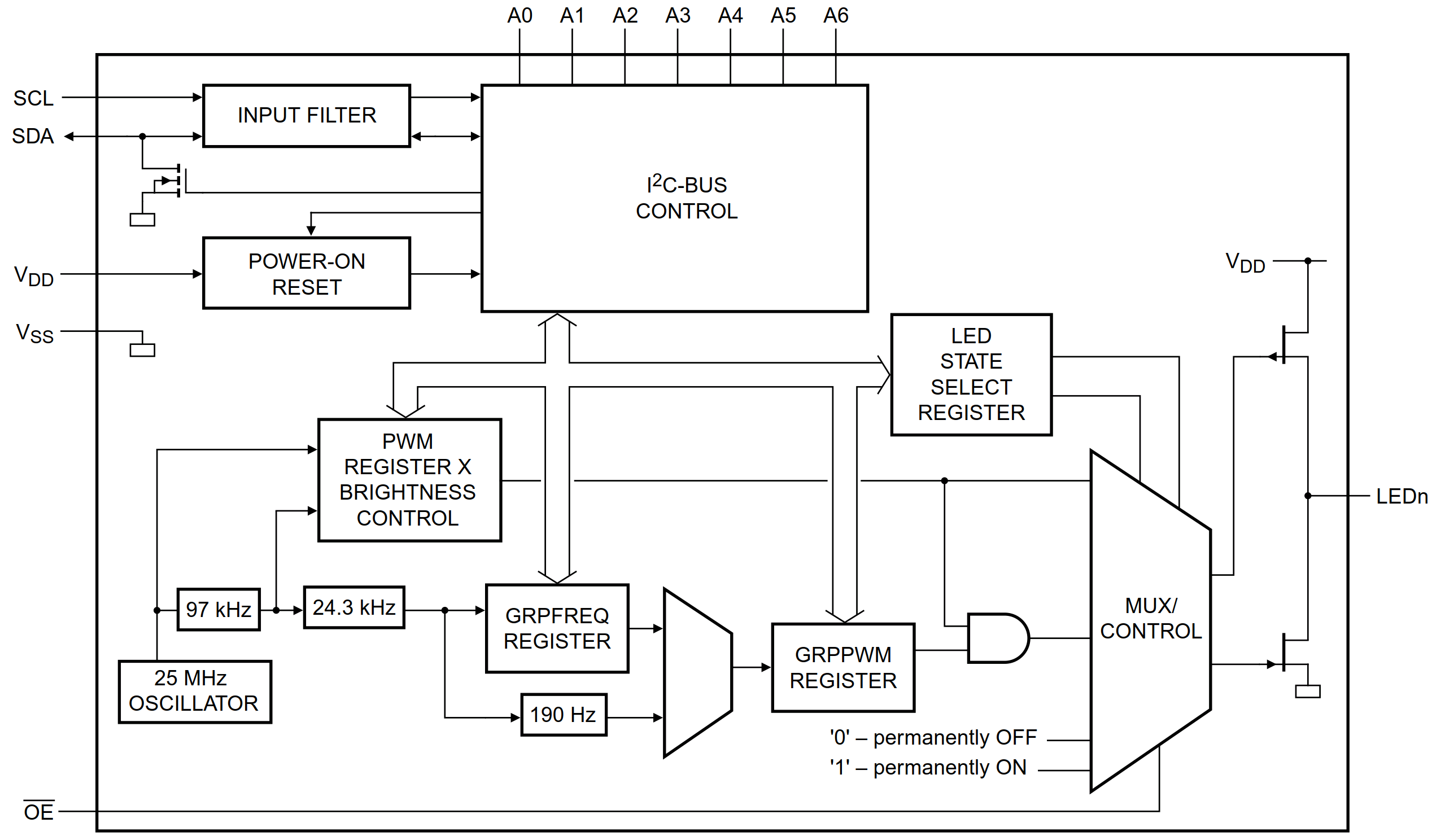
    AT9635是一款I2C总线控制的16位LED驱动器,针对红色/绿色/蓝色/琥珀色(RGBA)混色应用进行了优化。每个LED输出都有自己的8位分辨率(256步长)固定频率的独立PWM控制器,该控制器以97 kHz的频率运行,占空比可调节。AT9635是I2C总线控制的16位LED驱动器,针对红色/绿色/蓝色/琥珀色(RGBA)混色应用程序。每个LED输出都有其自己的8位分辨率(256步长)固定频率独立PWM控制器,该控制器以97 kHz的频率运行,占空比可在0%至99.6%之间调节,以允许将LED设置为特定的亮度值。附加的8位分辨率(256步)组PWM控制器具有190 Hz的固定频率和24 Hz至每10.73秒一次的可调频率,其占空比从0%到99.6%可调,用于使所有具有相同值的LED变暗或闪烁.m 0%至99.6%以允许将LED设置为特定的亮度值。附加的8位分辨率(256步)组PWM控制器具有190 Hz的固定频率和24 Hz至每10.73秒一次的可调频率,其占空比从0%到99.6%可调,用于使所有具有相同值的LED变暗或闪烁。

特征

    16个LED驱动器。每个输出的可编程位置:

    关/开

    可编程的LED亮度

    可编程的组调光/闪烁与单独的LED亮度混合

    1MHz Fast-Mode Plus兼容的I2C总线接口,在SDA输出上具有30mA的高驱动能力,用于驱动高电容性总线

    使用97kHz PWM信号,每个LED输出具有256步(8位)线性可编程亮度,从完全关闭(默认)到最大亮度

    256级组亮度控制允许从完全关闭到最大亮度(默认)的常规调光(使用190Hz PWM信号)

    256步组闪烁,频率可编程为24 Hz至10.73s,占空比为0%至99.6%

    具有软件可编程的漏极开路LED输出选择的16个图腾柱输出(在5 V时吸收25mA电流和10mA输出10mA)(图腾柱默认)。没有输入功能。

    可在确认或STOP命令上编程设置输出状态更改,以逐字节或同时更新所有输出(默认为“ STOP更改”)

    低电平有效输出使能(OE)输入引脚。当OE为HIGH时,LED输出可编程为逻辑1,逻辑0或“高阻抗”(上电时默认),从而允许硬件闪烁和LED变暗。

    7个硬件地址引脚允许126个设备连接到同一I2C总线

    4个软件可编程的I2C总线地址(一个LED群组呼叫地址和三个LED子呼叫地址)允许以任意组合方式同时对多组设备进行寻址(例如,一个寄存器用于“所有呼叫”,以便所有I2C总线上的AT9635可以同时寻址,第二个寄存器用于三个不同的地址,这样一来,就可以同时寻址总线上所有设备的1/3。 I2C总线地址的软件启用和禁用。

    软件重置功能(SWRST调用)允许通过I2C总线重置设备

    25 MHz内部振荡器不需要任何外部组件

    内部上电复位

    SDA/SCL输入上的噪声滤波器

    输出边缘速率控制

    上电无故障

    支持热插入

    低待机电流

    工作电源电压范围为2.3 V至5.5 V

    5.5 V耐压输入

    -40℃至+ 85℃工作

    ESD保护超过JESD22-A114的2000 V HBM,JESD22-A115的200 V MM和JESD22-C101的1000 V CDM

    闩锁测试已按照超过100 mA的JEDEC标准JESD78进行

    提供的封装:TSSOP28

应用领域

    RGB或RGBA LED驱动器

    LED状态信息

    LED显示屏

    LCD背光

    手机或手持设备的键盘背光

框图

QQ图片20200912175554.png





技术支持:万广互联 芯景AnalogTek-CLOCK|RTC|RS232|RS485|LVDS|I2C|多协议收发芯片|马达驱动芯片-武汉芯景科技有限公司WuHan AnalogTek Technology Co., Ltd. 鄂ICP备20005446号-1